Не нашли что искали? Спросите у нас! Имеем архивы на 140 ТБ. У нас есть все современные проекты повторного применения и проекты ремонта советских типовых зданий. Пишите нам: info@proekt.sx
Вам не нужен весь проект? Сможем продать отдельную его часть (раздел или подраздел). Напишите нам! Для связи: info@proekt.sx
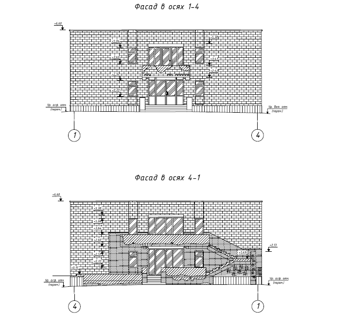
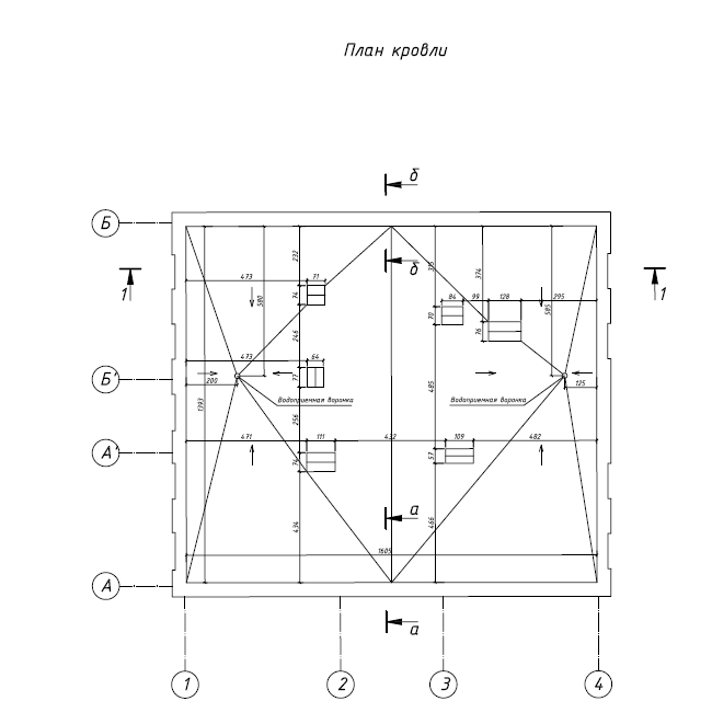
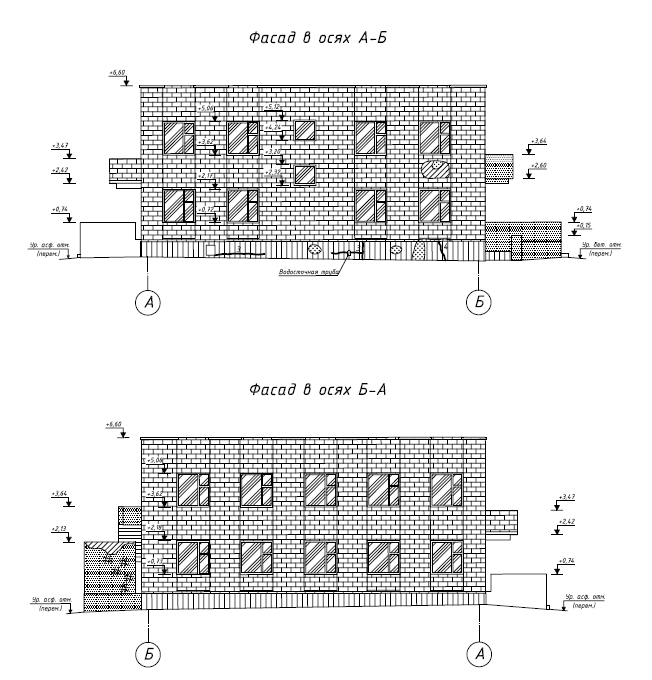
Типовой проект 244-5-10
Типовой проект 244-5-10 Приемно-медицинский корпус пионерского лагеря-базы отдыха на 720/640 мест, для строительств в 1В климатическом подрайоне, 2 и 3 климатических районах.
Технико-экономические показатели:
Общие сведения.
Здание является медицинским корпусом пионерского лагеря. Корпус двухэтажный, с подвалом под частью здания. Здание было построено в 1987 году по типовому проекту 244-5-10. Фундаменты под наружными и внутренними стенами главного здания ленточные на естественном основании, выполнены из кладки сборных бетонных блоков марки «ФБС». Цоколь выполнен из кирпичной кладки. Несущей способности фундаментов достаточно для восприятия существующих нагрузок. Техническое состояние вскрытых шурфами фундаментов оценивается как работоспособное. Наружные и внутренние стены несущие -выполнены из красного пустотелого кирпича на цементно-песчаном растворе. Толщина наружных стен 1-го этажа составляет 69 см (2,5 кирпича и штукатурный слой), внутренних с учетом облицовки - 36/48 см (1 кирпич, а также штукатурный слой и облицовка из ГКЛ по дер. какркасу). Перегородки в здании выполнены из кладки щелевых керамических кирпичей на цементно-песчаном растворе. Толщина перегородок 13-20 см. (0,5 кирпича и облицовка).

